【手动陶瓷球阀】瑞濠品牌.质量保证,瑞濠阀业全方面介绍
【Q41TC手动陶瓷球阀】相关标准、选型、作用、结构图、规格型号;为您提供
陶瓷阀门外形尺寸、工作原理、产品说明书、安装维护及产品示意图;为广大用户打造高品质、高性能、高标准、高寿命、价格优惠及一整套解决方案的系列手动陶瓷球阀。
手动陶瓷球阀产品简述:
陶瓷球阀所有与介质接触的部分均为结构陶瓷材料 , 其化学稳定性硬度高。手动陶瓷球阀具有耐磨损、耐腐蚀、耐冲蚀性能,且隔热性好、热膨胀小。球体采用研磨设备及工艺制造,球圆度精度高,表面质量好,与阀座对研后,利用Zr02陶瓷的自滑润性,可取得很好的密封性能。改变了金属硬密封球阀易泄露、扭矩大、密封面不耐腐蚀的缺点。手动陶瓷球阀良好的耐磨性,让本阀经久耐用,可靠性能高. 使用寿命长 。
手动陶瓷球阀性能特点:
·陶瓷球阀强度
锻钢壳体(视具体工况可选A105N, SS304, S316, SS316L等),三段式结构设计,阀体强度高,结构简单可靠。
·陶瓷球阀耐腐蚀
阀门内部与介质直接接触的是阀球,阀座以及阀体内衬均采用氧化铝结构陶瓷材料。结构陶瓷具有较好的化学惰性从而使全衬陶瓷硬密封球阀可适用于大多数高腐蚀性介质中。
·陶瓷球阀耐磨损
结构陶瓷同样具有的硬度,因此在各种高磨损工况中。
·陶瓷球阀零泄露
全内衬陶瓷球阀与阀座之间为面接触硬密封结构,密封面经研磨加工和测试,保证零泄露。
·陶瓷球阀低扭矩值
阀球与阀座材质均为结构陶瓷,自润滑性好,阀门开启阻力小,开关顺畅。结构陶瓷的耐磨损性能保证阀门在长期使用后扭矩也不会有明显变化。
·陶瓷球阀规格型号全
采用法兰连接方式,公称压力等级:PN10-PN40ASME,公称通径:DN15-DN300。可接受客户定制非标新产品。
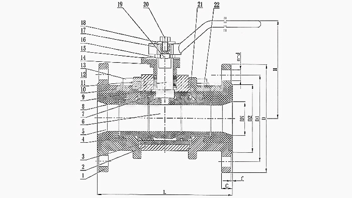
手动陶瓷球阀产品结构:
用于高硬度的颗粒介质,或有软颗粒但又有腐蚀的介质中,具有高性能特点, 所有与介质接触的部分均为结构陶瓷材料 , 本阀具有耐磨损、耐腐蚀、耐冲蚀性能,且隔热性好、热膨胀小。改变了金属硬密封球阀易泄露、扭矩大、密封面不耐腐蚀、不耐磨损的缺点,使用寿命长。
手动陶瓷球阀外表尺寸表:
|
通径DN
|
L
|
D
|
D1
|
D2
|
C
|
f
|
H
|
n-Φd
|
|
15
|
130
|
95
|
65
|
46
|
14
|
2
|
86
|
4-14
|
|
20
|
130
|
105
|
75
|
56
|
16
|
2
|
95
|
4-14
|
|
25
|
140
|
115
|
85
|
65
|
16
|
2
|
108
|
4-14
|
|
32
|
165
|
140
|
100
|
76
|
18
|
2
|
115
|
4-18
|
|
40
|
165
|
150
|
110
|
84
|
18
|
2
|
115
|
4-18
|
|
50
|
203
|
165
|
125
|
99
|
20
|
2
|
115
|
4-18
|
|
65
|
222
|
185
|
145
|
118
|
20
|
2
|
115
|
4-18
|
|
80
|
241
|
200
|
160
|
135
|
20
|
2
|
145
|
8-18
|
|
100
|
305
|
220
|
180
|
156
|
22
|
2
|
188
|
8-18
|
|
125
|
356
|
250
|
210
|
184
|
22
|
2
|
210
|
8-18
|
|
150
|
394
|
285
|
240
|
211
|
24
|
2
|
260
|
8-22
|
|
200
|
457
|
340
|
295
|
266
|
24
|
2
|
320
|
8-22
|
|
250
|
533
|
395
|
350
|
319
|
26
|
2
|
365
|
12-22
|
手动陶瓷球阀产品应用:
手动陶瓷球阀具有耐腐蚀、耐高温、耐磨损及耐冲蚀等显著特点。广泛应用于石化、冶金、造纸、电站、炼油等行业的各类酸碱盐气体、液体、高温蒸汽和泥浆输送系统中。陶瓷球阀是腐蚀场合下金属阀的理想替代产品。氧化锆陶瓷球阀具有成本低,运行经济性高和寿命长的优点。陶瓷球阀其驱动方式有手动、气动、气动一弹簧复位、电动等。并可按用户的要求设计各类陶瓷阀门。适用于各种酸、碱、盐类液体、气体介质环境,硬密封阀尤其适用于带颗粒、纤维状介质环境。

·手动陶瓷球阀质保体系:
有了您的信任与支持,我们提供值得信赖的Ruihao品牌产品,我们支持一系列的系统技术参数、技术指导、文件支持,实行质量跟踪、客户档案、售后保障。
·手动陶瓷球阀产品标准:
我们的产品按相关标准验收,产品质量实行"售后跟踪"服务;随货提供"铭牌""质量证明""质保卡",产品并带有"说明书""检验报告"等相关说明。
·手动陶瓷球阀解决方案:
瑞濠公司为工业系统和水力提供的整体方案,我们专注产品质量,把握每一个产品细节全程控制; 不仅为用户解决需求,还保障了控制系统运行可靠性,减少系统的故障及维护,不懈努力的为用户提供高品质、高性能的产品。
·手动陶瓷球阀售后保障:
瑞濠公司实行完善的用户档案和全程服务制度,每个用户都进行全程免费技术咨询、安装指导、跟踪服务以及相关咨询服务。
瑞濠公司的阀门产品实行"三包"服务,货物到现场提供相应技术指导支持; 质保期实行12个月到24个月不等。
·手动陶瓷球阀订购说明:
1.阀门产品:如有指定型号标准,请直播销售热线咨询价格,了解详情!
2.技术支持:如没有指定产品型号规格,请把工况要求、设计图纸、技术规范,发送传真或邮件至本公司。
3.产品订货参数:通径(DN),公称压力(Mpa),温度(℃),连接方式(螺纹、法兰、对夹等)。
4.产品驱动方式:手动、蜗轮、气动、电动等。
5.产品标准:国标GB、日标JIS、美标ANSI、德标DIN、英标BS、欧标EN等。
6.报价确认:本公司提供报价清单及技术标准说明至客户确认,在双方技术各方面确认后再拟定合同。
7.阀门质量要求、质量标准、供方对质量负责的条件:按有关质量标准。