【法兰高压圆盘式疏水阀】瑞濠品牌.质量保证,瑞濠阀业全方面介绍『KRF法兰高压圆盘式疏水阀』相关标准、选型、作用、结构图、规格型号;外形尺寸、工作原理、安装维护及产品说明书;为广大用户提供高品质、高性能、高标准、高寿命、价格优惠的系列法兰高压圆盘式疏水阀。
法兰高压圆盘式疏水阀产品简述:
法兰
高温高压圆盘式疏水阀是用于蒸汽管网及设备中,能自动排出凝结水、空气及其它不凝结气体,并阻水蒸汽泄漏的阀门,HRF3、CS49Y高温高压圆盘式蒸汽
疏水阀用于高温高压的饱和和蒸汽主管和透平机的蒸汽使用。高温高压疏水阀内部装有自动吹除装置。新式阀片、密封可靠。蒸汽保温装置,节能。法兰高压圆盘式疏水阀可迅速排出设备起动时的空气及冷凝结水、排量大、漏汽率小。抗蚀性强.动作可靠,经久耐用。在工作压力范围内,无需调整,节能效果显著。
法兰高压圆盘式疏水阀产品特点:
1.法兰高压圆盘式疏水阀阀体材料采用铬钼矾钢,耐腐蚀,耐磨损,耐高温、高压耐用。
2.适用于饱和蒸汽和高温高压过热蒸汽工况,在整个工作压力范围内无需调整。
3.有内置过滤网,并在管路上能更换零件,维护简便。
法兰高压圆盘式疏水阀技术参数:
|
公称压力
|
PN100(F22)
|
PN160(F22)
|
|
防气阻功能
|
自控
|
自控
|
|
PMA允许压力
|
10Mpa(38℃)
|
15Mpa(38℃)
|
|
PMO工作压力
|
7.5Mpa(200℃)
|
11Mpa(400℃)
|
|
TMA允许温度
|
593℃(1.2Mpa)
|
593℃(2.3Mpa)
|
|
TMO工作温度
|
593℃(1.2Mpa)
|
593℃(2.3Mpa)
|
法兰高压圆盘式疏水阀产品性能:
法兰高压圆盘式疏水阀阀体采用锻打铬钼钢、铬钼钒钢或不锈钢,耐腐蚀,耐磨损、耐高温、耐高压,久持耐用。温高压圆盘式蒸汽疏水阀适用于饱和蒸汽和高温高压过热蒸汽工况,在整个工作压力范围内无需调整。有内置过滤网,并在管路上能更换零件维护方便。高温高压圆盘式疏水阀主要用于高温高压蒸汽主管线,使用压力0.5-16MPA的饱和蒸汽和高温高压过热蒸汽工况。
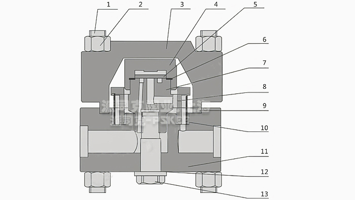
法兰高压圆盘式疏水阀主要材料表:
|
序号
|
名称
|
材料
|
|
1
|
螺柱
|
B16
|
|
2
|
螺母
|
20CrMo
|
|
3
|
阀盖
|
F22
|
|
4
|
阀座盖
|
F22
|
|
5
|
阀片
|
F22
|
|
6
|
垫圈
|
石墨
|
|
7
|
阀座
|
F22
|
|
8
|
阀套
|
F22
|
|
9
|
石墨垫圈
|
304+石墨
|
|
10
|
滤网
|
304
|
|
11
|
阀体
|
F22
|
|
12
|
垫圈
|
石墨
|
|
13
|
阀座顶杆
|
F22
|
法兰高压圆盘式疏水阀主要用途:
法兰高压圆盘式疏水阀用于高温高压的饱和和蒸汽主管和透平机的蒸汽使用;高温高压蒸汽疏水阀阀体材料采用合金钢制造,能耐550℃高温,动作灵敏,工作质量高,高温高压疏水阀适用于高压工况下的疏水工作,是高压过热蒸汽管线和高压过热蒸汽设备的疏水阀之一。
法兰高压圆盘式疏水阀外形尺寸表:
CS69
HRF3
PN160/
900LB外形尺寸
|
口径(DN)
|
L
|
H
|
h
|
W
|
CS69
HRF3
PN100/
600LB外形尺寸
|
口径(DN)
|
L
|
H
|
h
|
W
|
|
15
|
125
|
112
|
23
|
135
|
15
|
125
|
112
|
23
|
135
|
|
20
|
125
|
112
|
23
|
135
|
20
|
125
|
112
|
23
|
135
|
|
25
|
130
|
116
|
27
|
140
|
25
|
145
|
119
|
30
|
155
|
|
32
|
158
|
153
|
33
|
180
|
32
|
185
|
157
|
37
|
195
|
|
40
|
158
|
153
|
33
|
180
|
40
|
185
|
157
|
37
|
195
|
|
50
|
185
|
160
|
40
|
200
|
50
|
205
|
163
|
43
|
220
|
法兰高压圆盘式疏水阀使用和保养:
1.应确认高压圆盘式疏水阀阀体的材料、压力和温度的值能满足工况所需。
2.在疏水阀安装前须清洗管路,除去杂特。
3.安装位置应尽可能靠近加热设备
4.应水平安装在管路的低点,流向与阀体上标注的方向一致
5.每台加热设备要各自安装疏水阀,以免互相影响。
6.在保证系统能安全运行时,缓慢开启疏水阀前的阀门使其逐渐升温至正常状态。
7.要定期保养,保证疏水阀正常工作。

·法兰高压圆盘式疏水阀质保体系:
有了您的信任与支持,我们提供值得信赖的Ruihao品牌产品,我们支持一系列的系统技术参数、技术指导、文件支持,实行质量跟踪、客户档案、售后保障。
·法兰高压圆盘式疏水阀产品标准:
我们的产品按相关标准验收,产品质量实行"售后跟踪"服务;随货提供"铭牌""质量证明""质保卡",产品并带有"说明书""检验报告"等相关说明。
·法兰高压圆盘式疏水阀解决方案:
瑞濠公司为工业系统和水力提供的整体方案,我们专注产品质量,把握每一个产品细节全程控制; 不仅为用户解决需求,还保障了控制系统运行可靠性,减少系统的故障及维护,不懈努力的为用户提供高品质、高性能的产品。
·法兰高压圆盘式疏水阀售后保障:
瑞濠公司实行完善的用户档案和全程服务制度,每个用户都进行全程免费技术咨询、安装指导、跟踪服务以及相关咨询服务。
瑞濠公司的阀门产品实行"三包"服务,货物到现场提供相应技术指导支持; 质保期实行12个月到24个月不等。
·法兰高压圆盘式疏水阀订购说明:
1.阀门产品:如有指定型号标准,请直播销售热线咨询价格,了解详情!
2.技术支持:如没有指定产品型号规格,请把工况要求、设计图纸、技术规范,发送传真或邮件至本公司。
3.产品订货参数:通径(DN),公称压力(Mpa),温度(℃),连接方式(螺纹、法兰、对夹等)。
4.产品驱动方式:手动、蜗轮、气动、电动等。
5.产品标准:国标GB、日标JIS、美标ANSI、德标DIN、英标BS、欧标EN等。
6.报价确认:本公司提供报价清单及技术标准说明至客户确认,在双方技术各方面确认后再拟定合同。
7.阀门质量要求、质量标准、供方对质量负责的条件:按有关质量标准。