【北京式热动力圆盘式疏水阀】瑞濠品牌.质量保证,瑞濠阀业全方面介绍『热动力圆盘式疏水阀』相关标准、选型、作用、结构图、规格型号;外形尺寸、工作原理、安装维护及疏水阀产品说明书;为广大用户提供高品质、高性能、高标准、高寿命、价格优惠的系列北京式热动力疏水阀 。
北京式热动力圆盘式疏水阀产品简述:
北京式热动力圆盘式
疏水阀产品利用动力学性能,当凝结水排到较低压力区时会发生二次蒸发,并在粘度,密度等方面与蒸汽纯在差异驱动启闭件。该
热动力疏水阀广泛用于蒸汽主管道,伴热管、夹套锅及各种小型蒸汽设备。
北京式热动力圆盘式疏水阀技术参数:
|
公称压力
|
PN40
|
PN64(WC9,F22)
|
|
防气阻功能
|
自控
|
自控
|
|
PMA允许压力
|
4.1Mpa(38℃)
|
6.5Mpa(38℃)
|
|
PMO工作压力
|
2.5Mpa(200℃)
|
4.5Mpa(400℃)
|
|
TMA允许温度
|
300℃(0.4Mpa)
|
593℃(0.8Mpa)
|
|
TMO工作温度
|
250℃(0.4Mpa)
|
593℃(0.8Mpa)
|
北京式热动力圆盘式疏水阀结构特点:
1、本北京式热动力圆盘式疏水阀结构结实、重量轻、体积小使用压力范围大,不需调节。
2、具有空气排放装置,迅速排除初时空气、保证快速启动。
3、可承受过热蒸汽、抗冰冻能力强,安装起来不受限制,均能正常工作。
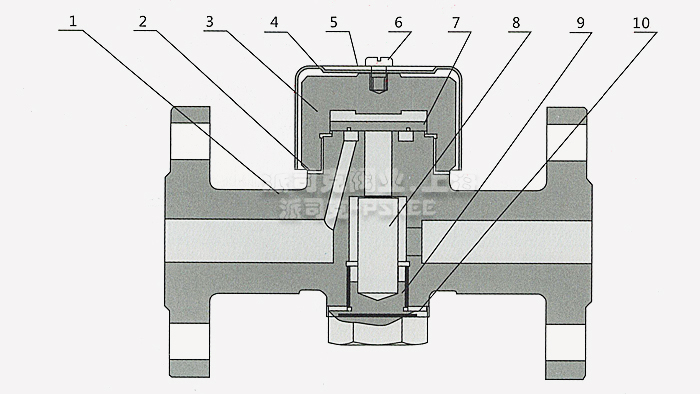
北京式热动力圆盘式疏水阀外形尺寸表:
|
序号
|
名称
|
材料
|
|
1
|
阀体
|
A105
|
|
2
|
密封垫片
|
H62
|
|
3
|
阀盖
|
Q235
|
|
4
|
阀帽
|
304
|
|
5
|
标牌
|
304
|
|
6
|
螺钉
|
304
|
|
7
|
阀片
|
304
|
|
8
|
滤网
|
304
|
|
9
|
尾螺
|
2Cr13
|
|
10
|
密封垫片
|
H62
|
北京式热动力圆盘式疏水阀曲线图:
注1.图中曲线标注的编号(4.8.12等)代表相应工作压差上的排量及阀座代号
2.差差是指疏水阀的入口端与出口端的压力差
北京式热动力圆盘式疏水阀产品用途:
圆盘式疏水阀是利用蒸汽和凝结水通阀孔时流速和体积产生变化的不同热力学性质,驱动阀片开关阀座孔,从面阻汽排水。适用于高温蒸汽主管线和过热蒸汽管网的阻汽排水。
北京式热动力圆盘式疏水阀外形尺寸表:
|
CS49北京式
|
|
口径(DN)
|
L
|
H
|
h
|
W
|
|
15
|
150
|
95
|
40
|
59
|
|
20
|
150
|
100
|
36
|
59
|
|
25
|
160
|
105
|
42
|
59
|
|
32
|
200
|
115
|
50
|
73
|
|
40
|
230
|
115
|
50
|
73
|
|
50
|
230
|
127
|
52
|
73
|
|
65
|
250
|
173
|
80
|
73
|
|
80
|
280
|
203
|
100
|
97
|
|
100
|
310
|
218
|
110
|
97
|
|
125
|
310
|
218
|
110
|
97
|
|
150
|
350
|
254
|
110
|
107
|
北京式热动力圆盘式疏水阀CS19北京式外形尺寸表:
|
CS19北京式
|
|
口径(DN)
|
L
|
H
|
h
|
W
|
|
15
|
75
|
95
|
40
|
59
|
|
20
|
85
|
100
|
36
|
59
|
|
25
|
95
|
108
|
42
|
59
|
|
32
|
115
|
115
|
50
|
73
|
|
40
|
115
|
115
|
50
|
73
|
|
50
|
170
|
127
|
87
|
73
|
北京式热动力圆盘式疏水阀CS69外形尺寸表:
|
CS46 PN64外形尺寸
|
口径(DN)
|
L
|
H
|
h
|
W
|
|
15
|
210
|
110
|
25
|
108
|
|
20
|
210
|
110
|
25
|
108
|
|
25
|
210
|
110
|
25
|
108
|
|
32
|
270
|
145
|
34
|
124
|
|
40
|
270
|
145
|
34
|
124
|
|
50
|
270
|
145
|
34
|
124
|
北京式热动力圆盘式疏水阀CS46
|
CS69 PN64外形尺寸
|
口径(DN)
|
L
|
H
|
h
|
W
|
|
15
|
130
|
110
|
25
|
108
|
|
20
|
130
|
110
|
25
|
108
|
|
25
|
130
|
110
|
25
|
108
|
|
32
|
140
|
145
|
34
|
124
|
|
40
|
140
|
145
|
34
|
124
|
|
50
|
140
|
145
|
34
|
124
|
北京式热动力圆盘式疏水阀使用和保养:
1、该北京式热动力圆盘式疏水阀正确安装和维护是正常运行的保证。
2、应确认阀体的材料、压力和温度的值能否满足工况所需。
3、在安装前须清洗管路,除去杂物。
4、圆盘式蒸汽疏水阀的安装位置应尽可能靠近加热设备。
5、该阀应安装在管道的低点,流向与阀体上标注的方向一致。
6、正确安装后,再缓慢开启疏水阀前的阀门,使其逐渐升温至正常状态。

·北京式热动力圆盘式疏水阀质保体系:
有了您的信任与支持,我们提供值得信赖的Ruihao品牌产品,我们支持一系列的系统技术参数、技术指导、文件支持,实行质量跟踪、客户档案、售后保障。
·北京式热动力圆盘式疏水阀产品标准:
我们的产品按相关标准验收,产品质量实行"售后跟踪"服务;随货提供"铭牌""质量证明""质保卡",产品并带有"说明书""检验报告"等相关说明。
·北京式热动力圆盘式疏水阀解决方案:
瑞濠公司为工业系统和水力提供的整体方案,我们专注产品质量,把握每一个产品细节全程控制; 不仅为用户解决需求,还保障了控制系统运行可靠性,减少系统的故障及维护,不懈努力的为用户提供高品质、高性能的产品。
·北京式热动力圆盘式疏水阀售后保障:
瑞濠公司实行完善的用户档案和全程服务制度,每个用户都进行全程免费技术咨询、安装指导、跟踪服务以及相关咨询服务。
瑞濠公司的阀门产品实行"三包"服务,货物到现场提供相应技术指导支持; 质保期实行12个月到24个月不等。
·北京式热动力圆盘式疏水阀订购说明:
1.阀门产品:如有指定型号标准,请直播销售热线咨询价格,了解详情!
2.技术支持:如没有指定产品型号规格,请把工况要求、设计图纸、技术规范,发送传真或邮件至本公司。
3.产品订货参数:通径(DN),公称压力(Mpa),温度(℃),连接方式(螺纹、法兰、对夹等)。
4.产品驱动方式:手动、蜗轮、气动、电动等。
5.产品标准:国标GB、日标JIS、美标ANSI、德标DIN、英标BS、欧标EN等。
6.报价确认:本公司提供报价清单及技术标准说明至客户确认,在双方技术各方面确认后再拟定合同。
7.阀门质量要求、质量标准、供方对质量负责的条件:按有关质量标准。