【气动低噪音笼式调节阀】瑞濠品牌.质量保证,瑞濠阀业全方面介绍ZJHM气动低噪音笼式调节阀相关标准、选型、作用、结构图、规格型号;外形尺寸、工作原理、安装维护及产品说明书;为广大用户提供高品质、高性能、高标准、高寿命、价格优惠的气动低噪音笼式调节阀。
气动低噪音笼式调节阀产品简述:
HCN气动低噪音笼式调节阀可以降低可压缩流体的噪音,为适应气体节流扩散与膨胀,套筒上设有许多对称小孔来降低压力降。
调节阀阀芯采用压力平衡式结构,流体通道呈S流线型,还设有一个套筒周围流体平衡流动的导流翼。本
气动调节阀其压降损失小,流量大,噪音低。泄漏量符合ANSI B16.104标准。气动低噪音笼式调节阀配用多弹簧薄膜执行机构,其结构紧凑,输出力大,产品符合GB/T4213-92。
气动低噪音笼式调节阀产品特点:
HCN气动低噪音笼式调节阀是一种压力平衡式的调节阀,阀体流体通道呈S流线型,还设有一个套筒周围流体平稳流动的导流翼,优点是压降损失小,流量大、可调范围广,流量特性曲线精度高。低噪音笼式调节阀动态稳定性好,噪音低,空化腐蚀小。该笼式调节阀配用多弹簧式薄膜执行机构,结构紧凑,输出力大。适宜控制高温,低温的高压差流体。
气动低噪音笼式调节阀产品结构:
气动低噪音笼式调节阀分为两种结构。一种是笼式单座结构,是采用笼式单座导向、单座密封结构。另外一种是笼式套筒结构,是采用笼式套筒导向、双斜面密封结构。
气动低噪音笼式调节阀技术参数:
型式:直通铸造球型阀
公称通径:40、50、65、80、100、150、200mm
公称压力:ANSI 125、150、300、600 JIS 10、16、20、30、40K
PN1.6、4.0、6.4MPa
连接型式:法兰连接:FF、RF、RJ、LG、沟槽型、嵌入型
法兰标准:JIS B2201-1984、ANSI B16.5-1981、GB/T9112~9124-2000等
焊接连接:嵌接焊SW(40~50mm)对接焊BW(65~200mm)
材料:铸钢(ZG230-450)、铸不锈钢(ZG1Cr18Ni9Ti、ZG1Cr18Ni12Mo2Ti、ZG00Cr18Ni12Mo2Ti)、钛等
上阀盖:常温型(P):-17~+230℃
伸长Ⅰ型(E1):-45~-17℃ +230~+566℃
伸长Ⅱ型(E2I):-100~-45℃
伸长Ⅱ型(E2W):-196~-100℃
注:工作温度不准过各种材料的允许范围。
气动低噪音笼式调节阀主要材料表:
压盖型式:螺栓压紧式
填料:V型聚四氟乙烯填料、含浸聚四氟乙烯石棉填料、石棉编织填料、石墨填料
阀内组件
阀芯型式:金属阀座的压力平衡式阀芯
流量特性:线性(L)-参考下图
注:整体式和分离式套筒应根据公称通径、材料和工作温度而定。
材料:不锈钢(Cr18Ni9Ti、1Cr18Ni2Mo2Ti、17-4PH、9Cr18、316L)不锈钢堆焊司太莱合金、钛和耐腐蚀合金等。
气动低噪音笼式调节阀执行机构:
型式:LHA多弹簧薄膜执行机构、LVA5单弹簧薄膜执行机构、LVA6单作用气缸动活塞执行机构、LVP双作用气缸活塞执行机构
膜片材料:乙丙橡胶夹尼龙布、丁腈橡胶夹尼龙布
弹簧范围:20~100、80~240kPa(LHA,LVA5型),190~350、190~400kPa(LVA6型)
供气压力:140~400kPa(LHA型)、140~280kPa(LVA5型)
400~500kPa(LVA6型)、300~500kPa(LVP型)
气源接口:Rc1/4"
环境温度:-30~+70℃
阀作:用型式 用正作用或反作用执行机构实现阀的气-关式或气-开式
附件:定位器、空气过滤减压器、保位阀、行程开关、阀位传送器、电磁阀、手轮机构等
气动低噪音笼式调节阀产品性能:
泄漏量:金属阀座:小于阀额定容量的0.01%,符合ANSI B16.104-1976IV级
回差:带定位器:小于全行程的1%,
不带定位器:小于全行程的3%(LHA1型小于全行程的5%)
基本误差:带定位器:小于全行程的±1%,
不带定位器:小于全行程的±5%
注:采用标准的V型聚四氟乙烯填料
可调范围:50:1(0.25≤Cv≤14)或30:1(CV≤0.16)
气动低噪音笼式调节阀Cv值和行程:
|
公称通径
|
40
|
50
|
65
|
80
|
100
|
150
|
200
|
|
阀座直径
|
25
|
32
|
40
|
32
|
40
|
50
|
40
|
50
|
65
|
50
|
65
|
80
|
65
|
80
|
100
|
100
|
125
|
150
|
125
|
150
|
200
|
|
额定Cv值
|
11
|
17
|
24
|
17
|
24
|
44
|
24
|
44
|
68
|
44
|
68
|
99
|
68
|
99
|
175
|
175
|
275
|
360
|
275
|
360
|
640
|
|
额定行程
|
25
|
38
|
50
|
75
|
气动低噪音笼式调节阀流量特性:
线性流量特性曲线 司钛莱堆焊的工作温度和压差范围
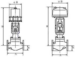
气动低噪音笼式调节阀外形尺寸:
|
公称通径
|
A
|
ANSI 125 FF
ANSI 150 RF
JIS 10K FF RF
PN1.6
|
JIS 16K RF
|
ANSI 300 RF
JIS 20K RF
JIS 30K RF
PN4.0
|
ANSI 600RF
JIS 40K RF
PN6.4
|
JIS 16K
沟槽型
嵌入型
|
JIS 20
沟槽型
嵌入型
|
JIS 30K
沟槽型
嵌入型
|
JIS 40K
沟槽型
嵌入型
|
|
40
|
222
|
231
|
235
|
251
|
235
|
236
|
248
|
251
|
|
50
|
254
|
263
|
267
|
286
|
265
|
267
|
276
|
286
|
|
65
|
276
|
288
|
292
|
311
|
290
|
292
|
303
|
311
|
|
80
|
298
|
313
|
317
|
337
|
310
|
317
|
326
|
337
|
|
100
|
352
|
364
|
368
|
394
|
360
|
368
|
379
|
394
|
|
150
|
451
|
465
|
473
|
508
|
475
|
473
|
486
|
508
|
|
200
|
543
|
560
|
568
|
610
|
570
|
568
|
580
|
610
|
气动低噪音笼式调节阀外形尺寸表:
|
公称通径
|
A
|
ANSI 150
RJ
|
ANSI 300
RJ
|
ANSI 600
RJ
|
ANSI 300
LG
|
ANSI 600 LG
|
ANSI 150
SW、BW
|
ANSI 150、600
SW、BW
|
|
40
|
235
|
248
|
251
|
244
|
248
|
251
|
251
|
|
50
|
267
|
283
|
289
|
276
|
283
|
286
|
286
|
|
65
|
289
|
308
|
314
|
302
|
308
|
311
|
311
|
|
80
|
311
|
333
|
340
|
327
|
333
|
337
|
337
|
|
100
|
365
|
384
|
397
|
378
|
391
|
394
|
394
|
|
150
|
464
|
489
|
511
|
483
|
505
|
473
|
508
|
|
200
|
556
|
584
|
613
|
578
|
606
|
568
|
610
|
注:法兰距符合IEC534-3标准
气动低噪音笼式调节阀是一种智能笼式套筒导向密封结构,除具有单座柱塞型调节阀的各种优点外,对称多孔笼式阀瓣更加有效的控制噪音及气蚀。低噪音笼式调节阀可选择多弹簧气动簿膜机构或电动执行机构等,气动笼式调节阀适用于允许压差小、阀前后压差较大的工作场合。

·气动低噪音笼式调节阀质保体系:
有了您的信任与支持,我们提供值得信赖的Ruihao品牌产品,我们支持一系列的系统技术参数、技术指导、文件支持,实行质量跟踪、客户档案、售后保障。
·气动低噪音笼式调节阀产品标准:
我们的产品按相关标准验收,产品质量实行"售后跟踪"服务;随货提供"铭牌""质量证明""质保卡",产品并带有"说明书""检验报告"等相关说明。
·气动低噪音笼式调节阀解决方案:
瑞濠公司为工业系统和水力提供的整体方案,我们专注产品质量,把握每一个产品细节全程控制; 不仅为用户解决需求,还保障了控制系统运行可靠性,减少系统的故障及维护,不懈努力的为用户提供高品质、高性能的产品。
·气动低噪音笼式调节阀售后保障:
瑞濠公司实行完善的用户档案和全程服务制度,每个用户都进行全程免费技术咨询、安装指导、跟踪服务以及相关咨询服务。
瑞濠公司的阀门产品实行"三包"服务,货物到现场提供相应技术指导支持; 质保期实行12个月到24个月不等。
·气动低噪音笼式调节阀订购说明:
1.阀门产品:如有指定型号标准,请直播销售热线咨询价格,了解详情!
2.技术支持:如没有指定产品型号规格,请把工况要求、设计图纸、技术规范,发送传真或邮件至本公司。
3.产品订货参数:通径(DN),公称压力(Mpa),温度(℃),连接方式(螺纹、法兰、对夹等)。
4.产品驱动方式:手动、蜗轮、气动、电动等。
5.产品标准:国标GB、日标JIS、美标ANSI、德标DIN、英标BS、欧标EN等。
6.报价确认:本公司提供报价清单及技术标准说明至客户确认,在双方技术各方面确认后再拟定合同。
7.阀门质量要求、质量标准、供方对质量负责的条件:按有关质量标准。