

| 球阀 |
| 闸阀 |
| 蝶阀 |
| 截止阀 |
| 止回阀 |
| 排气阀 |
| 过滤器 |
| 电磁阀 |
| 旋塞阀 |
| 平衡阀 |
| 减压阀 |
| 调节阀 |
| 角座阀 |
| 针型阀 |
| 疏水阀 |
| 管夹阀 |
| 隔膜阀 |
| 阻火器 |
| 呼吸阀 |
| 排泥阀 |
| 液压阀 |
| 放料阀 |
| 柱塞阀 |
| 低温阀门 |
| 衬氟阀门 |
| 塑料阀门 |
| 刀型闸阀 |
| 陶瓷阀门 |
| 黄铜阀门 |
| 水力控制阀 |
| 电动气动阀门 |
| 特材阀门 |
| 进入更多阀门系列 |

| 产品品牌 | Ruihao |
| 产品型号 | X41F |
| 产品口径 | DN15-DN200 |
| 产品压力 | 150LB-900LB |
| 产品材质 | 碳钢,不锈钢,合金 |
| 产品应用 | 石油,化工,电力 |
| 产品特点 | ●瑞濠阀门,Ruihao工业品质。 ●质量保证,交货快捷,售后完善。 ●产品三包:包修、包换、包退。 ●(Ruihao)Pipeline Safety Keeper。 ●Ruihao工业品牌阀门,管道的安全管理员。 ●销售热线:+8613676550726、31007662。 |
| 美标卡套式旋塞阀产品简述: | |||||||||||||||||||||||||||||||||||||||||||||||||||||||||||||||||||||||||||||||||||||||||||||||||||||||||||||||||||||||||||||||||||||||
| 美标卡套旋塞阀适用于公称压 力CLASS150-CLASS1500,工作温度为-29-180℃的石油、化工、制药、化肥、电力行业等各种工况的管路上,切断或接通管路介质。旋塞阀的阀体和密封面间设有油槽,可随时通过油嘴向阀座注入密封油脂,增加密封性能。零件材质及法兰尺寸可根据实际工况或用户要求合理选配,满足工程需要。 | |||||||||||||||||||||||||||||||||||||||||||||||||||||||||||||||||||||||||||||||||||||||||||||||||||||||||||||||||||||||||||||||||||||||
|
|||||||||||||||||||||||||||||||||||||||||||||||||||||||||||||||||||||||||||||||||||||||||||||||||||||||||||||||||||||||||||||||||||||||
| 美标卡套式旋塞阀产品特点: | |||||||||||||||||||||||||||||||||||||||||||||||||||||||||||||||||||||||||||||||||||||||||||||||||||||||||||||||||||||||||||||||||||||||
|
①美标卡套式软密封旋塞阀密封性是通过卡套四周的密封面来实现的,360° 金属唇边保护固定卡套; ②阀门没有空腔给介质积聚; ③金属唇边在旋塞转时提供自洁的作用,适合于粘稠和易结垢的工况; ④双向流动,使用安装更方便; ⑤零件材质及法兰尺寸可根据实际工况或用户要求合理选配,满足各种工程需要。 |
|||||||||||||||||||||||||||||||||||||||||||||||||||||||||||||||||||||||||||||||||||||||||||||||||||||||||||||||||||||||||||||||||||||||
| 美标卡套式旋塞阀结构特点: | |||||||||||||||||||||||||||||||||||||||||||||||||||||||||||||||||||||||||||||||||||||||||||||||||||||||||||||||||||||||||||||||||||||||
|
1、卡套软密封旋塞阀产品结构合理、密封可靠、性能优良、造型美观。 2、它的密封性是通过卡套四周的密封面来实现的。360°金属唇边保护固定卡套。 3、软密封卡套旋塞阀阀门没有空腔给介质积聚。 4、金属唇边在旋塞转时提供自洁的作用,适合于粘稠和易结垢的工况。 5、软密封卡套旋塞阀双向流动,使用安装更方便。 6、零件材质及法兰尺寸可根据实际工况或用户要求合理选配,满足各种工程需要。 |
|||||||||||||||||||||||||||||||||||||||||||||||||||||||||||||||||||||||||||||||||||||||||||||||||||||||||||||||||||||||||||||||||||||||
![]() |
|||||||||||||||||||||||||||||||||||||||||||||||||||||||||||||||||||||||||||||||||||||||||||||||||||||||||||||||||||||||||||||||||||||||
| 美标卡套式旋塞阀主要性能规范: | |||||||||||||||||||||||||||||||||||||||||||||||||||||||||||||||||||||||||||||||||||||||||||||||||||||||||||||||||||||||||||||||||||||||
|
|||||||||||||||||||||||||||||||||||||||||||||||||||||||||||||||||||||||||||||||||||||||||||||||||||||||||||||||||||||||||||||||||||||||
| 美标卡套式旋塞阀主要材料表: | |||||||||||||||||||||||||||||||||||||||||||||||||||||||||||||||||||||||||||||||||||||||||||||||||||||||||||||||||||||||||||||||||||||||
|
|||||||||||||||||||||||||||||||||||||||||||||||||||||||||||||||||||||||||||||||||||||||||||||||||||||||||||||||||||||||||||||||||||||||
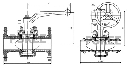
| 美标卡套式旋塞阀外形尺寸图: | |||||||||||||||||||||||||||||||||||||||||||||||||||||||||||||||||||||||||||||||||||||||||||||||||||||||||||||||||||||||||||||||||||||||
|
|||||||||||||||||||||||||||||||||||||||||||||||||||||||||||||||||||||||||||||||||||||||||||||||||||||||||||||||||||||||||||||||||||||||
| 美标卡套式旋塞阀150LB外形尺寸表: | |||||||||||||||||||||||||||||||||||||||||||||||||||||||||||||||||||||||||||||||||||||||||||||||||||||||||||||||||||||||||||||||||||||||
|
|||||||||||||||||||||||||||||||||||||||||||||||||||||||||||||||||||||||||||||||||||||||||||||||||||||||||||||||||||||||||||||||||||||||
| 美标卡套式旋塞阀300LB外形尺寸表: | |||||||||||||||||||||||||||||||||||||||||||||||||||||||||||||||||||||||||||||||||||||||||||||||||||||||||||||||||||||||||||||||||||||||
|
|||||||||||||||||||||||||||||||||||||||||||||||||||||||||||||||||||||||||||||||||||||||||||||||||||||||||||||||||||||||||||||||||||||||
| 美标卡套式旋塞阀设计优点: | |||||||||||||||||||||||||||||||||||||||||||||||||||||||||||||||||||||||||||||||||||||||||||||||||||||||||||||||||||||||||||||||||||||||
|
A. 可根据使用温度和工作介质采用F4、F46、PVDF、PP、PO、PE等自润滑材料衬套,润滑好,在整个工作过程中密封副摩擦系数小,塞体运转灵活,使用寿命长。 B. 旋塞阀阀体进出口端窗口设计及双道沟槽密封环结构,旋塞在旋转过程中,其密封副间的密封比压在逐渐变化,直至到达全开或全关位置时,产生足够的密封比压,密封副达到零泄漏。 C. 双道沟槽密封环既可以使衬套稳固在阀体内不产生位移,又可吸收由于温差变化引起衬套产生的微量变形,同时衬套与旋塞之间产生有力的摩擦,具有自动清洁作用,提高了密封面的使用寿命。 D. 柱塞顶部反唇式密封设计,采用一个软密封材料膜片和金属膜片与调整垫片组合既可以调整密封面间的密封比压,使塞子转动灵活,又可以保证进,出口端和中法兰连接端的密封。 E. 适合用于高冲刷性的气固。液固相介质。如PVC、尿素、本酐、烧碱生产装置中,或对外泄漏要求高介质,如HF等。 |
|||||||||||||||||||||||||||||||||||||||||||||||||||||||||||||||||||||||||||||||||||||||||||||||||||||||||||||||||||||||||||||||||||||||