【陶瓷排渣闸阀】瑞濠品牌.质量保证,瑞濠阀业全方面介绍
【PZ41TC陶瓷排渣闸阀】相关标准、选型、作用、结构图、规格型号;为您提供
陶瓷阀门外形尺寸、工作原理、产品说明书、安装维护及产品示意图;为广大用户打造高品质、高性能、高标准、高寿命、价格优惠及一整套解决方案的系列陶瓷排渣闸阀。
陶瓷排渣闸阀产品简述:
手动耐磨陶瓷排渣闸阀是在普通排渣阀的易冲蚀、易磨损部位采用耐磨陶瓷衬里而成的耐磨排渣闸阀,既保留了闸阀结构的优点,又提高了耐冲刷、耐磨损的性能。阀腔内设有导渣槽,能自动排除渣浆,以防止阀门底部存渣而导致阀门关闭不严的情况。适用于矿浆、渣水混合物、颗粒物料等介质的截断启闭之用,有较长的使用寿命。
陶瓷排渣闸阀结构特点:
1、两段式结构,阀体出口底部设计有导渣槽,可以有效防止颗粒物堆积。
2、刚性单闸板强制密封,密封性能好 。
3、闸板、阀座、流道衬有结构陶瓷,耐磨损。
陶瓷排渣闸阀产品标准:
结构长度:GB/T 12221
法兰尺寸:GB/T 9113.1
检验与试验:GB/T 9092
材料:碳钢 GB/T 12229
不锈钢 GB/T122230
标志:GB/T 12220
供货:GB/T 12252
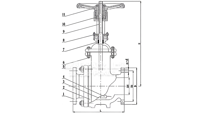
陶瓷排渣闸阀主要材料表:
|
序号
|
名称
|
材料
|
|
1
|
阀体
|
WCB
|
|
2
|
主阀体
|
WCB
|
|
3
|
阀座
|
复合工程陶瓷
|
|
4
|
阀板
|
WCB+陶瓷
|
|
5
|
螺母
|
25
|
|
6
|
双头螺柱
|
35CrMoVA
|
|
7
|
填料
|
柔性石墨
|
|
8
|
填料压盖
|
2Cr13
|
|
9
|
阀杆
|
1Cr13
|
|
10
|
阀杆螺母
|
青铜
|
|
11
|
手轮
|
KTII350-10
|
陶瓷排渣闸阀外形尺寸表:
|
通径DN
|
公称压力PN
|
L
|
D
|
D1
|
C
|
H
|
n-Φd
|
|
50
|
1.6Mpa
|
250
|
165
|
125
|
20
|
335
|
4-18
|
|
80
|
280
|
200
|
160
|
20
|
510
|
8-18
|
|
100
|
300
|
220
|
180
|
22
|
685
|
8-18
|
|
125
|
325
|
250
|
210
|
22
|
730
|
8-18
|
|
150
|
350
|
285
|
240
|
24
|
790
|
8-22
|
|
200
|
400
|
340
|
295
|
24
|
885
|
12-22
|
|
250
|
450
|
405
|
355
|
29
|
1015
|
12-26
|
|
300
|
500
|
460
|
410
|
28
|
1190
|
12-26
|
|
350
|
550
|
520
|
470
|
30
|
1350
|
16-26
|
|
400
|
600
|
580
|
525
|
32
|
1460
|
16-30
|
陶瓷排渣闸阀产品应用:
陶瓷排渣闸阀适合用于液、固混合介质,结构设计,排渣效果非趁,阀体内不积渣,关闭严密。闸板、阀座密封面材料均采用陶瓷制造,冲蚀磨损严重的过流百衬陶瓷,陶瓷排渣闸阀提高了耐磨性和耐腐性,大大延长了阀门使用寿命。手轮采用推力轴承设计,减小了启闭阻力;聚四氟乙稀填料防止阀门外漏。 执行机构有电动、气动手动三种形式,也可根据用户不同要求设计不同形式的连接结构和执行方式。 耐磨陶瓷排渣闸阀适用于电力、石化、冶金、矿山、输煤厂、水泥厂、水处理厂等行业,尤其适用于磨损严重的灰浆、灰渣管路输送系统。

·陶瓷排渣闸阀质保体系:
有了您的信任与支持,我们提供值得信赖的Ruihao品牌产品,我们支持一系列的系统技术参数、技术指导、文件支持,实行质量跟踪、客户档案、售后保障。
·陶瓷排渣闸阀产品标准:
我们的产品按相关标准验收,产品质量实行"售后跟踪"服务;随货提供"铭牌""质量证明""质保卡",产品并带有"说明书""检验报告"等相关说明。
·陶瓷排渣闸阀解决方案:
瑞濠公司为工业系统和水力提供的整体方案,我们专注产品质量,把握每一个产品细节全程控制; 不仅为用户解决需求,还保障了控制系统运行可靠性,减少系统的故障及维护,不懈努力的为用户提供高品质、高性能的产品。
·陶瓷排渣闸阀售后保障:
瑞濠公司实行完善的用户档案和全程服务制度,每个用户都进行全程免费技术咨询、安装指导、跟踪服务以及相关咨询服务。
瑞濠公司的阀门产品实行"三包"服务,货物到现场提供相应技术指导支持; 质保期实行12个月到24个月不等。
·陶瓷排渣闸阀订购说明:
1.阀门产品:如有指定型号标准,请直播销售热线咨询价格,了解详情!
2.技术支持:如没有指定产品型号规格,请把工况要求、设计图纸、技术规范,发送传真或邮件至本公司。
3.产品订货参数:通径(DN),公称压力(Mpa),温度(℃),连接方式(螺纹、法兰、对夹等)。
4.产品驱动方式:手动、蜗轮、气动、电动等。
5.产品标准:国标GB、日标JIS、美标ANSI、德标DIN、英标BS、欧标EN等。
6.报价确认:本公司提供报价清单及技术标准说明至客户确认,在双方技术各方面确认后再拟定合同。
7.阀门质量要求、质量标准、供方对质量负责的条件:按有关质量标准。