

| 球阀 |
| 闸阀 |
| 蝶阀 |
| 截止阀 |
| 止回阀 |
| 排气阀 |
| 过滤器 |
| 电磁阀 |
| 旋塞阀 |
| 平衡阀 |
| 减压阀 |
| 调节阀 |
| 角座阀 |
| 针型阀 |
| 疏水阀 |
| 管夹阀 |
| 隔膜阀 |
| 阻火器 |
| 呼吸阀 |
| 排泥阀 |
| 液压阀 |
| 放料阀 |
| 柱塞阀 |
| 低温阀门 |
| 衬氟阀门 |
| 塑料阀门 |
| 刀型闸阀 |
| 陶瓷阀门 |
| 黄铜阀门 |
| 水力控制阀 |
| 电动气动阀门 |
| 特材阀门 |
| 进入更多阀门系列 |

| 产品品牌 | Ruihao |
| 产品型号 | H44F,H41F,H61F,H71X-10S |
| 产品口径 | DN15-DN300 |
| 产品压力 | 1.0Mpa |
| 产品材质 | UPVC、CPVC、PPH、PVDF |
| 产品应用 | 化工、废水、重酸碱 |
| 产品特点 | ●瑞濠阀门,Ruihao工业品质。 ●质量保证,交货快捷,售后完善。 ●产品三包:包修、包换、包退。 ●(Ruihao)Pipeline Safety Keeper。 ●Ruihao工业品牌阀门,管道的安全管理员。 ●销售热线:+8613676550726、31007662。 |
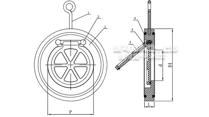
| 件号No. | 名称 | 材质 |
| 1 | 螺帽盖 | FRPP |
| 2 | 阀盖 | FRPP,PVDF,CPVC,UPVC,PPH |
| 3 | 揺杆 | FRPP,PVDF,CPVC,UPVC,PPH |
| 4 | 封盖 | FRPP,PVDF,CPVC,UPVC,PPH |
| 5 | 密封圈 | EPDM,FPM |
| 6 | 密封螺母 | FRPP,PVDF,CPVC,UPVC,PPH |
| 7 | 连接杆 | FRPP,PVDF,CPVC,UPVC,PPH |
| 8 | 阀体 | FRPP,PVDF,CPVC,UPVC,PPH |
| 9 | 六角螺栓 | 钢、不锈钢 |
| 10 | 橡胶垫片 | EPDM,FPM |
| 11 | 六角螺栓 | FRPP,PVDF,CPVC,UPVC,PPH |
| 12 | 垫片 | 钢、不锈钢 |
| 13 | 六角螺母 | 钢、不锈钢 |
| DN | D(mm) | D1 | L | h | n | φ(mm) | 工作压力(Mpa) | **小返回压力(Mpa) | ||||||
| DIN | JIS | ANSI | HG/DIN | JIS | ANSI | HG/DIN | JIS | ANSI | ||||||
| 25 | 85 | 90 | 79 | 125 | 160 | 16 | 4 | 4 | 4 | 14 | 15 | 16 | 1.0 | 0.05 |
| 32 | 100 | 100 | 89 | 145 | 180 | 16 | 4 | 4 | 4 | 18 | 19 | 16 | 1.0 | 0.06 |
| 40 | 110 | 105 | 98 | 145 | 180 | 16 | 4 | 4 | 4 | 18 | 19 | 16 | 1.0 | 0.06 |
| 50 | 125 | 120 | 121 | 160 | 200 | 18 | 4 | 4 | 4 | 18 | 19 | 19 | 1.0 | 0.06 |
| 65 | 145 | 140 | 140 | 180 | 240 | 22 | 4 | 4 | 4 | 18 | 19 | 19 | 1.0 | 0.08 |
| 80 | 160 | 150 | 152 | 195 | 260 | 22 | 8 | 8 | 4* | 18 | 19 | 19 | 0.6 | 0.08 |
| 100 | 180 | 175 | 190 | 215 | 300 | 22 | 8 | 8 | 8 | 18 | 19 | 19 | 0.6 | 0.08 |
| 125 | 210 | 210 | 216 | 250 | 350 | 28 | 8 | 8 | 8 | 18 | 19 | 22 | 0.6 | 0.1 |
| 150 | 240 | 240 | 241 | 280 | 405 | 30 | 8 | 8 | 8 | 22 | 23 | 22 | 0.6 | 0.1 |
| 200 | 295 | 290 | 298 | 330 | 500 | 34 | 8 | 12* | 8 | 22 | 23 | 22 | 0.3 | 0.1 |
| 250 | 350 | 355 | 362 | 395 | 600 | 37 | 12 | 12 | 12 | 22 | 25 | 26 | 0.3 | 0.1 |
| 300 | 400 | 400 | 432 | 450 | 600 | 38 | 12 | 16* | 12 | 22 | 25 | 26 | 0.3 | 0.1 |
| DN | D1 (mm) | D(mm) | L(mm) | h(mm ) | n | φ(mm) | 工作压力(Mpa) | **小返回压力(Mpa) | ||||||
| DIN | JIS | ANSI | HG/DIN | JIS | ANSI | HG/DIN | JIS | ANSI | ||||||
| 15 | 95 | 65 | 70 | 60 | 100 | 15 | 4 | 4 | 4 | 14 | 15 | 16 | 1.0 | 0.1 |
| 20 | 105 | 75 | 75 | 70 | 120 | 17 | 4 | 4 | 4 | 14 | 15 | 16 | 1.0 | 0.1 |
| 25 | 115 | 85 | 90 | 79 | 140 | 17 | 4 | 4 | 4 | 14 | 15 | 16 | 1.0 | 0.1 |
| 32 | 135 | 100 | 100 | 89 | 160 | 17 | 4 | 4 | 4 | 18 | 19 | 16 | 1.0 | 0.1 |
| 40 | 145 | 110 | 105 | 98 | 165 | 17 | 4 | 4 | 4 | 18 | 19 | 16 | 1.0 | 0.1 |
| 50 | 160 | 125 | 120 | 121 | 180 | 20 | 4 | 4 | 4 | 18 | 19 | 19 | 1.0 | 0.1 |
| 65 | 180 | 145 | 140 | 140 | 220 | 22 | 4 | 4 | 4 | 18 | 19 | 19 | 0.6 | 0.1 |
| 80 | 195 | 160 | 150 | 152 | 250 | 25 | 8 | 8 | 4* | 18 | 19 | 19 | 0.6 | 0.1 |
| 100 | 215 | 180 | 175 | 190 | 280 | 25 | 8 | 8 | 8 | 18 | 19 | 19 | 0.6 | 0.1 |
| 125 | 245 | 210 | 210 | 216 | 325 | 30 | 8 | 8 | 8 | 18 | 19 | 22 | 0.4 | 0.1 |
| 150 | 280 | 240 | 240 | 241 | 365 | 30 | 8 | 8 | 8 | 22 | 23 | 22 | 0.4 | 0.1 |
| 200 | 335 | 295 | 290 | 298 | 405 | 35 | 8 | 12* | 8 | 22 | 23 | 22 | 0.3 | 0.1 |
| 250 | 400 | 350 | 355 | 362 | 500 | 38 | 12 | 12 | 12 | 22 | 25 | 26 | 0.3 | 0.1 |
| 300 | 455 | 400 | 400 | 432 | 600 | 40 | 12 | 16* | 12 | 22 | 25 | 26 | 0.3 | 0.1 |
| DN | d | L | P | 工作压力 (Mpa) | **小返回压力(Mpa) | |||||
| 承插接头 | 螺纹接头 | |||||||||
| HG/DIN | JIS | ANSI | HG/DIN | JIS | ANSI | |||||
| 15 | 20 | 22 | 21.3 | Rc1/2 | PT1/2 | NPT1/2 | 100 | 17 | 1.0 | 0.04 |
| 20 | 25 | 26 | 26.7 | Rc3/4 | PT3/4 | NPT3/4 | 120 | 24 | 1.0 | 0.04 |
| 25 | 32 | 32 | 33.4 | Rcl | PT1 | NPT1 | 130 | 28 | 1.0 | 0.04 |
| 32 | 40 | 38 | 42.2 | Rc1-1/4 | PT1-1/4 | NPT1-1/4 | 153 | 29 | 1.0 | 0.04 |
| 40 | 50 | 48 | 48.3 | Rc1-1/2 | PT1-1/2 | NPT1-1/2 | 181 | 35 | 1.0 | 0.04 |
| 50 | 63 | 60 | 60.3 | Rc2 | PT2 | NPT2 | 203 | 39 | 1.0 | 0.04 |
|
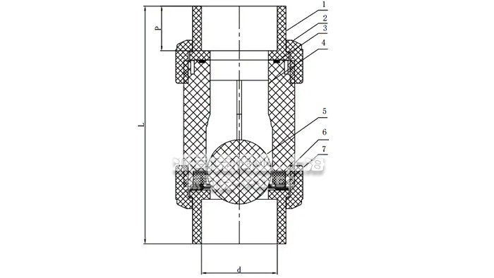
DN |
d |
D1 |
P |
L |
工作压力(Mpa) |
**小返回压力(Mpa) |
|
DN40 |
23 |
82 |
36 |
18 |
1.0 |
0.05 |
|
DN50 |
27 |
108 |
44 |
21 |
1.0 |
0.05 |
|
DN65 |
40 |
127 |
58 |
22 |
1.0 |
0.05 |
|
DN80 |
54 |
142 |
70 |
23 |
1.0 |
0.05 |
|
DN100 |
70 |
165 |
89 |
25 |
1.0 |
0.05 |
|
DN125 |
92 |
192 |
115 |
28 |
1.0 |
0.05 |
|
DN150 |
112 |
217 |
131 |
30 |
1.0 |
0.05 |
|
DN200 |
150 |
270 |
179 |
34 |
0.6 |
0.05 |
|
DN250 |
190 |
328 |
230 |
39 |
0.6 |
0.05 |
|
DN300 |
216 |
378 |
260 |
44 |
0.6 |
0.05 |