

| 球阀 |
| 闸阀 |
| 蝶阀 |
| 截止阀 |
| 止回阀 |
| 排气阀 |
| 过滤器 |
| 电磁阀 |
| 旋塞阀 |
| 平衡阀 |
| 减压阀 |
| 调节阀 |
| 角座阀 |
| 针型阀 |
| 疏水阀 |
| 管夹阀 |
| 隔膜阀 |
| 阻火器 |
| 呼吸阀 |
| 排泥阀 |
| 液压阀 |
| 放料阀 |
| 柱塞阀 |
| 低温阀门 |
| 衬氟阀门 |
| 塑料阀门 |
| 刀型闸阀 |
| 陶瓷阀门 |
| 黄铜阀门 |
| 水力控制阀 |
| 电动气动阀门 |
| 特材阀门 |
| 进入更多阀门系列 |

| 产品品牌 | Ruihao |
| 产品型号 | J13W |
| 产品口径 | DN6-DN32 |
| 产品压力 | 1.6-32Mpa |
| 产品材质 | 20#,A105,SS30,4316 |
| 产品应用 | 水,油,气体 |
| 产品特点 | ●瑞濠阀门,Ruihao工业品质。 ●质量保证,交货快捷,售后完善。 ●产品三包:包修、包换、包退。 ●(Ruihao)Pipeline Safety Keeper。 ●Ruihao工业品牌阀门,管道的安全管理员。 ●销售热线:+8613676550726、31007662。 |

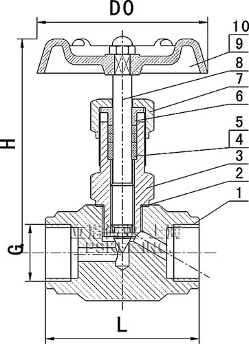
| 序号 NO. | 零件名称 Part name | 材质 Material |
| 1 | 阀体 Body | 20# A105 SS304 SS304L SS316 SS316L |
| 2 | 阀盖垫片 Bonnet Gasket | 紫铜(Red copper) PTFE |
| 3 | 阀盖Bonnet | 20# A105 SS304 SS304L SS316 SS316L |
| 4 | 填料垫 Packing Seat | PTFE 柔性石墨(Expanded Graphite) 金属盘根(Matel and Graphite) |
| 5 | 填料 Packing | PTFE 柔性石墨(Expanded Graphite) |
| 6 | 填料压盖 Packing Gland | 20# A105 SS304 SS304L SS316 SS316L |
| 7 | 锁紧螺母 Lock Nut | 20# A105 SS304 SS304L SS316 SS316L |
| 8 | 阀杆 Stem | 20# A105 SS304 SS304L SS316 SS316L |
| 9 | 手轮 Handle | 20# A105 SS304 SS304L SS316 SS316L |
| 10 | 带帽螺母Hooded Nut | 20# A105 SS304 SS304L SS316 SS316L |

| ITEM NO. | 公称通径 DN Nominal bore | G | H | L | D0 |
| J13W/H-1 | DN6 | G1/4 | 90 | 60 | 63(60) |
| J13W/H-2 | DN10 | G3/8 | 92 | 60 | 63(60) |
| J13W/H-3 | DN15 | G1/2 | 98 | 65 | 63(70) |
| J13W/H-4 | DN20 | G3/4 | 110 | 80 | 78(80) |
| J13W/H-5 | DN25 | ZG1 | 125 | 90 | 100 |
| J13W/H-6 | DN32 | G1-1/2 | 180 | 128 | 140(110) |