

| 球阀 |
| 闸阀 |
| 蝶阀 |
| 截止阀 |
| 止回阀 |
| 排气阀 |
| 过滤器 |
| 电磁阀 |
| 旋塞阀 |
| 平衡阀 |
| 减压阀 |
| 调节阀 |
| 角座阀 |
| 针型阀 |
| 疏水阀 |
| 管夹阀 |
| 隔膜阀 |
| 阻火器 |
| 呼吸阀 |
| 排泥阀 |
| 液压阀 |
| 放料阀 |
| 柱塞阀 |
| 低温阀门 |
| 衬氟阀门 |
| 塑料阀门 |
| 刀型闸阀 |
| 陶瓷阀门 |
| 黄铜阀门 |
| 水力控制阀 |
| 电动气动阀门 |
| 特材阀门 |
| 进入更多阀门系列 |

| 产品品牌 | Ruihao |
| 产品型号 | ANSI-Z15W |
| 产品口径 | 1/2-3寸 |
| 产品压力 | 200WOG |
| 产品材质 | CF8,CF8M |
| 产品应用 | 水,蒸汽,油品 |
| 产品特点 | ●瑞濠阀门,Ruihao工业品质。 ●质量保证,交货快捷,售后完善。 ●产品三包:包修、包换、包退。 ●(Ruihao)Pipeline Safety Keeper。 ●Ruihao工业品牌阀门,管道的安全管理员。 ●销售热线:+8613676550726、31007662。 |
| 不锈钢内螺纹闸阀产品简述: | ||||||||||||||||||||||||||||||||||||||||||||||||||||||||||
| 不锈钢内螺纹闸阀采用硅溶胶铸造,结构紧凑、造型美观;闸阀具有流体阻力小。启、闭所需力矩较小,内螺纹闸阀形体结构比较简单,制造工艺性较好等优点,且可以使用在介质双向流动的管路上,全开时,密封面受工作介质的冲蚀比小。 | ||||||||||||||||||||||||||||||||||||||||||||||||||||||||||
| 不锈钢内螺纹闸阀产品特点: | ||||||||||||||||||||||||||||||||||||||||||||||||||||||||||
| 不锈钢内螺纹闸阀结构简单,制造和维修比较方便。工作行程小,启闭时间短。密封性好,密封面间磨擦力小,寿命较长。内螺纹闸阀通道流畅,流阻系数小,启闭较省力,介质流向不受限制;丝扣闸阀密封面采用不锈钢和硬质合金,使用寿命长;具有上密封结构有利填料的保护;可适用于多种工况。 | ||||||||||||||||||||||||||||||||||||||||||||||||||||||||||
| 不锈钢内螺纹闸阀产品范围: | ||||||||||||||||||||||||||||||||||||||||||||||||||||||||||
|
材质:不锈钢304、不锈钢316 口径:1/2"~3"(DN15~DN80) 连接方式:BSP,BSPT, NPT 压力范围:200WOG 工作温度:-46℃ - +180℃ 操作方式:手轮 |
||||||||||||||||||||||||||||||||||||||||||||||||||||||||||
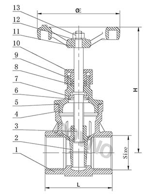
| 不锈钢内螺纹闸阀结构图: | ||||||||||||||||||||||||||||||||||||||||||||||||||||||||||
|
||||||||||||||||||||||||||||||||||||||||||||||||||||||||||
| 不锈钢内螺纹闸阀主要材料表: | ||||||||||||||||||||||||||||||||||||||||||||||||||||||||||
|
||||||||||||||||||||||||||||||||||||||||||||||||||||||||||
| 不锈钢内螺纹闸阀外形尺寸表: | ||||||||||||||||||||||||||||||||||||||||||||||||||||||||||
|
||||||||||||||||||||||||||||||||||||||||||||||||||||||||||
| 不锈钢内螺纹闸阀产品用途: | ||||||||||||||||||||||||||||||||||||||||||||||||||||||||||
| 不锈钢内螺纹闸阀是通过阀杆的相对运动,带动闸板沿着与管道轴线相垂直的方向移动,从而达到阀门的开启和关闭。螺纹闸阀采用硅溶胶铸造成型,不锈钢阀体、阀盖。适用于水、油品、蒸汽、气体及一般性腐蚀性液体。 | ||||||||||||||||||||||||||||||||||||||||||||||||||||||||||